The SEDRIS Data Representation Model
APPENDIX A - Classes
Transmittal Summary

Class Name: Transmittal Summary

Superclass - <SEDRIS Abstract Base>

Subclasses

This DRM class is concrete and has no subclasses.

Definition

An instance of this DRM class summarizes the content of the transmittal for which its aggregate <Transmittal Root> instance serves as root object, in terms of:

  1. Environmental domains represented (such as, terrain, ocean)
  2. Types of data used (such as geometry, features, data tables)
  3. DRM classes used
  4. EDCS Classifications used
  5. SRFs used

Primary Page in DRM Diagram:

Secondary Pages in DRM Diagram:

Example

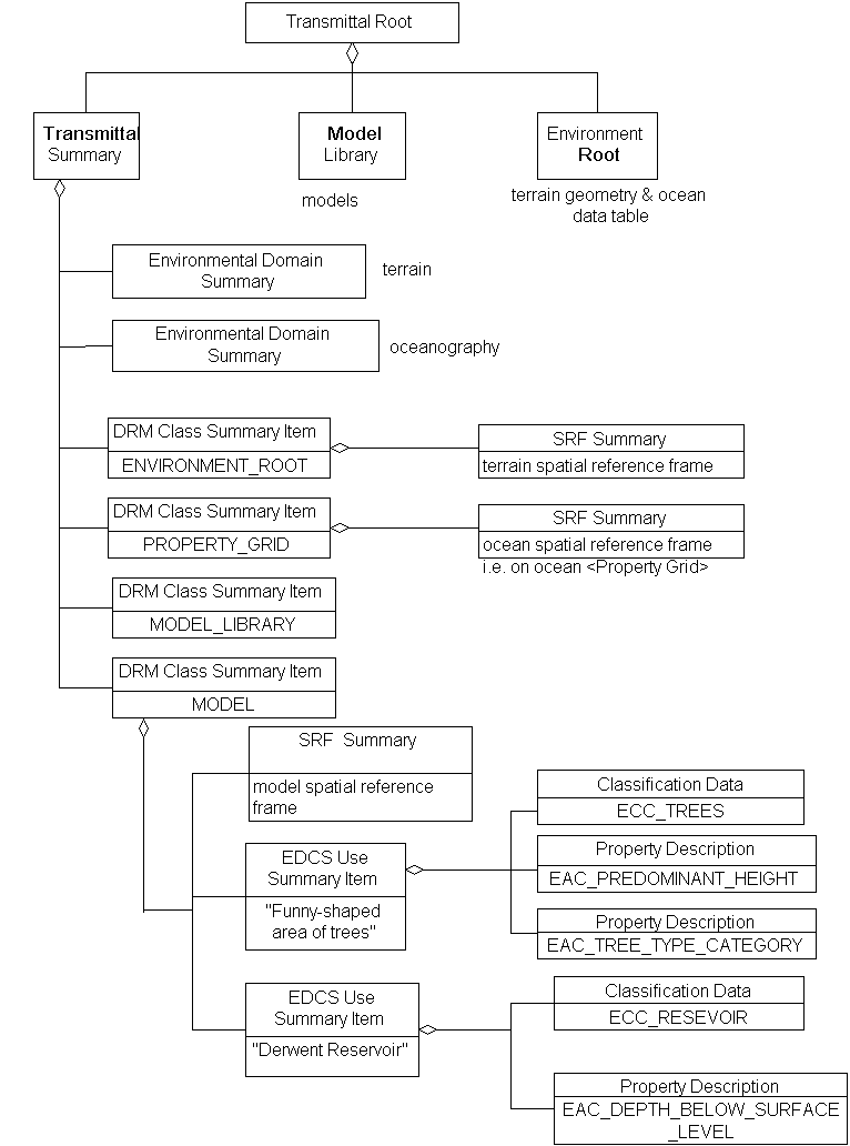
  1. A <Transmittal Summary> for a transmittal containing a <Model Library> and an <Environment Root>.

    Transmittal Summary, Example 1

FAQs

How are the environmental domains summarized?

The <Transmittal Summary> can aggregate a list of <Environmental Domain Summary> instances. Each <Environmental Domain Summary> represents one of the domains for which data is provided.

How are the SEDRIS classes used summarized?

The <Transmittal Summary> can aggregate a list of <DRM Class Summary Items>. Each <DRM Class Summary Item> represents one of the classes used.

How are the classifications summarized?

Each classification (i.e. the ECC and the sets of EACs used with it) that is used in the transmittal is summarized using a <EDCS Use Summary Item>. Each <EDCS Use Summary Item> is a component of the <DRM Class Summary Item> that represents the class that uses the classification within the transmittal.

How are the SRFs summarized?

Each SRF that is used in the transmittal is summarized using a <SRF Summary>. Each <SRF Summary> is a component of the <DRM Class Summary Item> that represents the class that uses the SRF within the transmittal.

Constraints

Composed of (two-way)

Composed of (two-way metadata)

Component of (two-way)

Inherited Field Elements

This class has no inherited field elements.

Field Elements

SE_Present_In features_present; (notes)
SE_Present_In geometry_present; (notes)
SE_Present_In geometry_topology_present; (notes)
SE_Present_In data_tables_present; (notes)
SE_Present_In priority_values_present; (notes)
SE_Present_In mobility_values_present; (notes)
SE_Present_In thermal_values_present; (notes)
SE_Present_In terrain_lods_present; (notes)
SE_Present_In two_D_features_flag; (notes)
SE_Boolean models_present; (notes)
SE_Boolean images_present; (notes)
SE_Boolean sounds_present; (notes)
SE_Boolean symbols_present; (notes)
SE_Boolean colours_present; (notes)
SE_Colour_Model colour_model; (notes)
SE_Boolean EDCS_usage_list_is_comprehensive; (notes)

Notes

Fields Notes


features_present

 This indicates whether <Feature Representation> instances of some
 kind are present in the transmittal being summarized, and if so,
 in what context. Note that if <Feature Representation> instances
 are present in a given context, <Feature Topology> instances will
 be present also.

geometry_present

 This indicates whether <Geometry Representation> instances of some
 kind are present in the transmittal being summarized, and if so,
 in what context.

geometry_topology_present

 This indicates whether <Geometry Topology> instances of some
 kind are present in the transmittal being summarized, and if so,
 in what context. Note that if <Geometry Topology> instances are
 present in a given context, <Geometry Representation> instances
 will be present also.

data_tables_present

 This indicates whether <Data Table> instances of some kind are
 present in the transmittal being summarized, and if so, in what
 context.

priority_values_present

 This indicates whether <Rendering Priority Level> instances are
 present somewhere in the transmittal being summarized, and if so,
 in what context.

mobility_values_present

 This indicates whether <Property> instances are present somewhere
 in the transmittal being summarized, the EAC codes of which
 specify mobility, also known as trafficability, information,
 such as EAC_SURFACE_TRAFFICABILITY_GROUP_SIMNET.

thermal_values_present

 This indicates whether <Property> instances are present somewhere
 in the transmittal being summarized, the EAC codes of which
 specify thermal information.

terrain_lods_present

 This indicates whether <LOD Related Geometry> and/or
 <LOD Related Features> instances representing terrain information
 are present in the transmittal being summarized, and if so, in
 what context.

two_D_features_flag

 This indicates whether any <Feature Representation> instance
 containing at least one <Location 2D> or <Location Surface>
 instance is present in the transmittal being summarized, and
 if so, in what context.

models_present

 The images_present field specifies whether <Model> instances
 exist in the transmittal being summarized.

images_present

 The images_present field specifies whether <Image> instances
 exist in the transmittal being summarized.

sounds_present

 The sounds_present field specifies whether <Sound> instances
 exist in the transmittal being summarized.

symbols_present

 The symbols_present field specifies whether <Symbol> instances
 exist in the transmittal being summarized.

colours_present

 The colours_present field specifies whether <Colour> instances
 are present in the transmittal being summarized. If no <Colour>
 instances are present, the value of the colour_model field is
 not applicable.

colour_model

 The colour_model field is interpreted by the API only if
 colours_present is set to SE_TRUE. The colour_model field
 specifies the colour model used by the data provider for all
 <Colour> instances in the transmittal for which the content
 is being summarized by the given <Transmittal Summary> instance.
 For example, if this field's value is SE_CLR_MDL_RGB, then any
 <Colour Data> instance in the transmittal shall be an
 <RGB Colour> instance.

EDCS_usage_list_is_comprehensive

 The EDCS_usage_list_is_comprehensive field specifies whether
 the <EDCS Use Summary Item> components of the given
 <Transmittal Summary> instance constitute a comprehensive
 summary of EDCS usage by the transmittal being summarized.

Prev: Transmittal Root. Next: Twinkling Light Behaviour. Up:Index.

Last updated: July 16, 2004 Copyright © 2004 SEDRIS