The SEDRIS Data Representation Model
APPENDIX A - Classes
Spatial Index Related Features

Class Name: Spatial Index Related Features

Superclass - <Aggregate Feature>

Subclasses

This DRM class is concrete and has no subclasses.

Definition

An instance of this DRM class specifies a spatially indexed related aggregation representing a collection of <Feature Hierarchy> components in which each <Feature Hierarchy> component represents a different tile within this aggregation. The <Spatial Index Data> link object corresponding to each <Feature Hierarchy> component indicates which tile it represents.

Primary Page in DRM Diagram:

Secondary Pages in DRM Diagram:

This class appears on only one page of the DRM class diagram.

Example

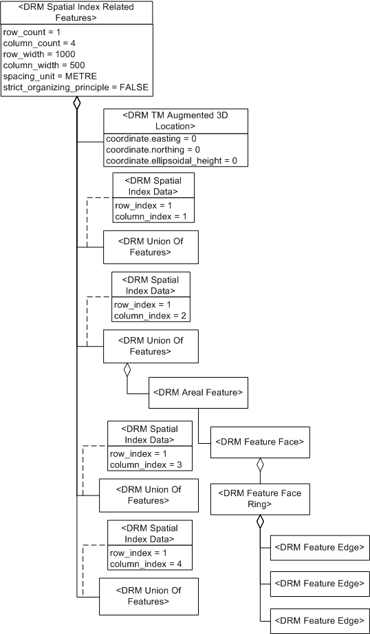
  1. Consider a <Spatial Index Related Features> instance with row_count = 1, column_count = 4, row_width = 1000 metres, column_width = 500 metres. For simplicity, each of the four branches of the <Spatial Index Related Features> instance in this example is a <Union Of Features> instance, as depicted in :

    Spatial Index Related Features, Example 1

    Since the origin of the collection (its lower left corner, the <TM Augmented 3D Location> component) is (0, 0, 0), the coverages of the branches are:

    1. from (0, 0) to (500, 1000)
    2. from (500, 0) to (1000, 1000)
    3. from (1000, 0) to (1500, 1000)
    4. from (1500, 0) to (2000, 1000)

    NOTE  A <Spatial Index Related Features> instance does not specify the range of z/height/elevation values.

  2. Consider a triangular <Areal Feature> instance in branch #2 of the previous example's aggregation, consisting of one regular <Feature Face> instance, which in turn has an external <Feature Face Ring> instance containing three <Feature Edge> instances as depicted in :

    Spatial Index Related Features, Example 2

    Since the <Areal Feature> instance thus crosses the boundary between branch #2 and branch #3, the <Spatial Index Related Features> instance's strict_organizing_principle is set to SE_FALSE.

FAQs

A particular data provider's data consists of a collection of <Areal Feature> instances that are tiled along the lines of a grid, but some <Areal Feature> instances here and there cross over tile boundaries. Can these <Areal Feature> instances be organized with a <Spatial Index Related Features> instance?

Yes, if its strict_organizing_principle is set to SE_FALSE to indicate that the indexing is not strictly followed (see examples). Each tile of the spatial index is represented by a <Feature Hierarchy> component of the <Spatial Index Related Features> instance.

Constraints

Associated to (one-way) (inherited)

Associated by (one-way) (inherited)

Composed of (two-way) (inherited)

Composed of (two-way)

Composed of (two-way metadata) (inherited)

Component of (two-way) (inherited)

Inherited Field Elements

SE_Boolean unique_descendants; (notes)
SE_Boolean strict_organizing_principle; (notes)

Field Elements

SE_Boolean sparse; (notes)
SE_Integer_Positive column_count; (notes)
SE_Integer_Positive row_count; (notes)
SE_Long_Float column_width; (notes)
SE_Long_Float row_width; (notes)
SE_Spatial_Index_Spacing_Unit spacing_unit; (notes)

Notes

Associated to Notes


Feature_Representation

An association between two <Feature Representation> instances indicates that the environmental object(s) that they represent have the semantic relationship indicated by the <Base Association Data> link object on the association relationship.


Geometry_Hierarchy

An association between a <Geometry Hierarchy> instance and a <Feature Representation> instance indicates that the environmental object(s) that they represent have the semantic relationship indicated by the <Base Association Data> link object on the association relationship.


Property_Grid

An association between a <Property Grid> instance and a <Feature Representation> instance indicates that the environmental object(s) represented by the <Feature Representation> instance and the <Property Grid> instance (or some specific cell data within that <Property Grid> instance) have the semantic relationship indicated by the <Base Association Data> link object on the association relationship. Each associated <Property Grid> instance indicates whether the entire <Property Grid> instance or only some specific cell data within it is participating in the relationship in question.

Associated from Notes


Feature_Representation

An association between two <Feature Representation> instances indicates that the environmental object(s) that they represent have the semantic relationship indicated by the <Base Association Data> link object on the association relationship.


Geometry_Hierarchy

An association between a <Geometry Hierarchy> instance and a <Feature Representation> instance indicates that the environmental object(s) that they represent have the semantic relationship indicated by the <Base Association Data> link object on the association relationship.


Property_Grid

An association between a <Property Grid> instance and a <Feature Representation> instance indicates that the environmental object(s) represented by the <Feature Representation> instance and the <Property Grid> instance (or some specific cell data within that <Property Grid> instance) have the semantic relationship indicated by the <Base Association Data> link object on the association relationship. Each associated <Property Grid> instance indicates whether the entire <Property Grid> instance or only some specific cell data within it is participating in the relationship in question.

Composed of Notes


Image_Mapping_Function

The <Image Mapping Function> components support texture mapping information for geometry that is to be derived from the <Aggregate Feature> instance by the consumer. These <Image Mapping Function> instances shall use <Image Anchor> components to specify the mapping.


Presentation_Domain

A <Presentation Domain> component is needed for <Aggregate Feature> instances that are significant only for a particular domain, such as radar.


Location

The <Location> component is the origin of the collection, which is the lower left corner.

Fields Notes

unique_descendants

If the value of the unique_descendants field is SE_TRUE, each descendant shall be unique in the sense that it shall appear in only one branch of this aggregation. Each descendant is a <Feature Representation> instance within the component tree rooted at the <Aggregate Feature> instance. If unique_descendants is SE_FALSE, at least one <Feature Representation> instance appears in more than one branch of the aggregation.

strict_organizing_principle

If the value of the strict_organizing_principle field is SE_TRUE, each branch of this aggregation strictly complies with the organizing principle for its particular subclass. If this value is SE_FALSE, at least one branch does not strictly comply with the given organizing principle. See the organizing principle constraint for each specific subclass for details.

sparse

If the value of the sparse field is SE_FALSE, all column and row entries are present; otherwise one or more entries are not present.

column_count

The column_count field specifies the number of cells along the primary axis.

row_count

The row_count field specifies the number of cells along the secondary axis.

column_width

The column_width field specifies the length of a cell in the given unit along the primary axis.

row_width

The row_width field specifies the length of a cell in the given unit along the secondary axis.

spacing_unit

The spacing_unit field specifies the unit of measurement for column_width and row_width.


Prev: Spatial Index Related Feature Topology. Next: Spatial Index Related Geometry. Up:Index.

Last updated: August 23, 2005 Copyright © 2005 SEDRIS